Passat32ruS писал(а):Ребята всем привет !!! Решил поменять масло в коробке пробег 132000 1.4 tsi 6ступка механика 2008 годребята подскажите где пробка сливная и заливаеться тоже где масло . Да и ещё вопрос решил поменять жидкость на сцепление и тормоза как это совершить и что нужно делать.
Зарание благодарю !!!

хозяин барин я не собираюсь допустим а человек собрался значит пусть меняетPassat32ruS писал(а): Да и ещё вопрос решил поменять жидкость на сцепление и тормоза как это совершить и что нужно делать.

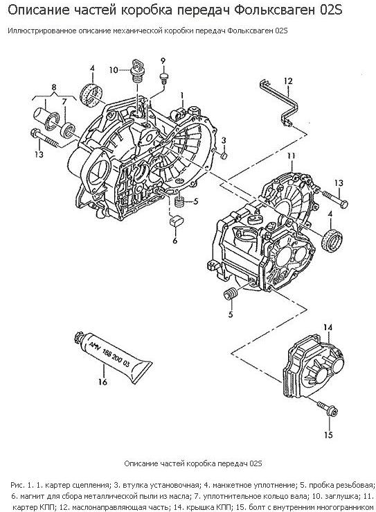
артемка писал(а):у меня тоже 6 ступка,там как бы только одна пробка,сливная и заливная она же.сам не менял ,смотрел как мастер мне делает.
Артем76 писал(а):Масло заливается на весь срок службы КПП
pawlushka писал(а):артемка писал(а):у меня тоже 6 ступка,там как бы только одна пробка,сливная и заливная она же.сам не менял ,смотрел как мастер мне делает.
интересно, это как это одна пробка? прежде чем писать, подумали бы сами? там две разные пробки.
Passat32ruS писал(а):Ребята спасибо !!! Да масло было как вода (((

артемка писал(а):покажи мне там вторую пробку?
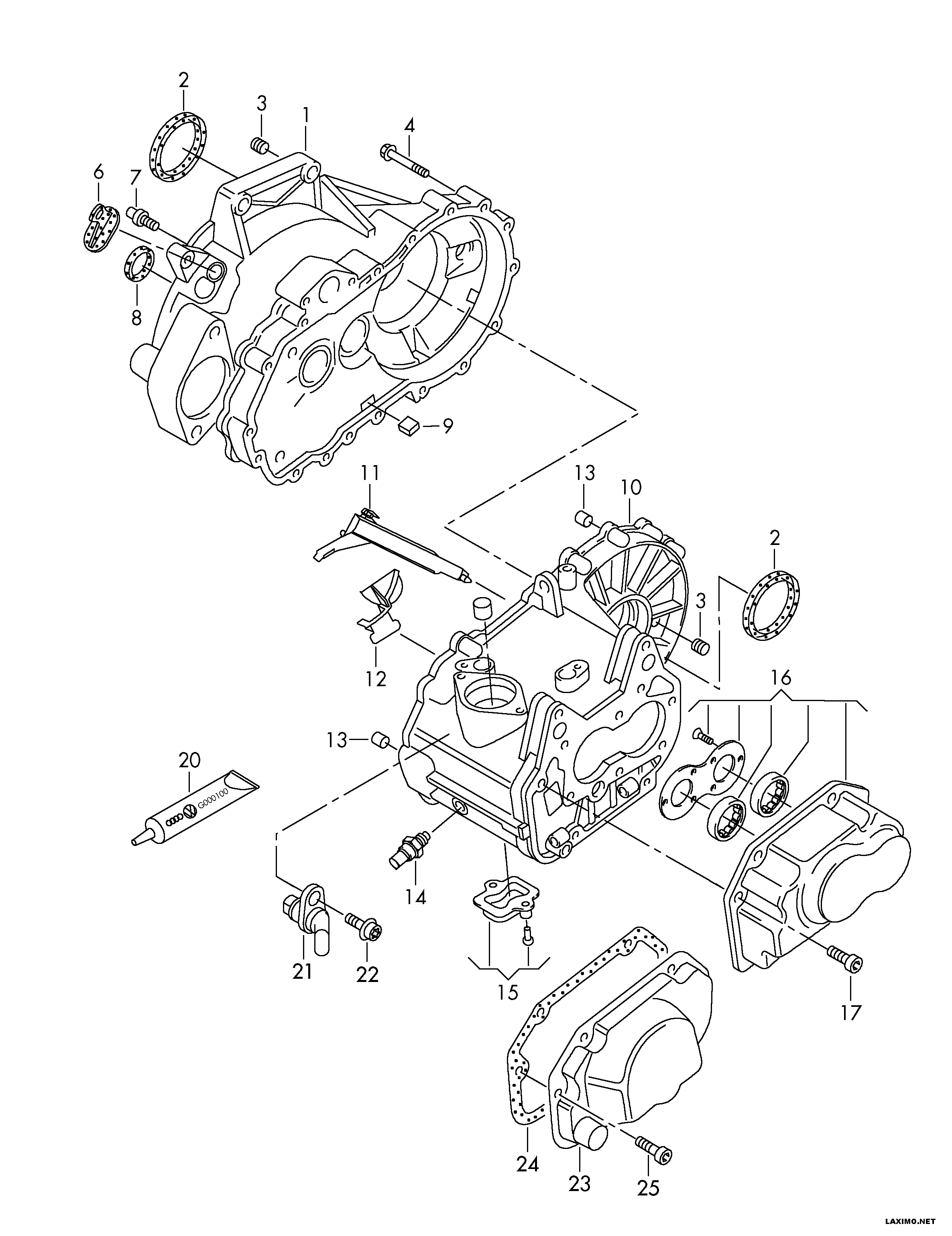
Пробка эта - как рудимент. В коробас надо заливать около 2,1 л. масла. Заливается через отверстие датчика заднего хода. Либо через твою пробку с боку, тогда наклоняй коробку (если снял) или машину на один бок.shekhter.gennadiy писал(а):Ребята подскажите. Я сегодня, когда менял масло в МКПП был очень удивлен. У меня туда вошло около литра масла, а все остальное стало выливаться. Пробовал еще доливать, но все равно вытекает через заливную пробку. А по регламенту, в elcats.ru, в мою МККП идет 2,1 литра. Я немножко растерян... Может я не туда заливаю или есть еще одна заливая пробка? И вообще это нормально, что в 6 ступку входит всего литр масла??
У меня 6 ступ. на B6. Код КПП сейчас не помню, но если это важно то могу посмотреть.
Сержант писал(а):Пробка эта - как рудимент. В коробас надо заливать около 2,1 л. масла. Заливается через отверстие датчика заднего хода. Либо через твою пробку с боку, тогда наклоняй коробку (если снял) или машину на один бок.shekhter.gennadiy писал(а):Ребята подскажите. Я сегодня, когда менял масло в МКПП был очень удивлен. У меня туда вошло около литра масла, а все остальное стало выливаться. Пробовал еще доливать, но все равно вытекает через заливную пробку. А по регламенту, в elcats.ru, в мою МККП идет 2,1 литра. Я немножко растерян... Может я не туда заливаю или есть еще одна заливая пробка? И вообще это нормально, что в 6 ступку входит всего литр масла??
У меня 6 ступ. на B6. Код КПП сейчас не помню, но если это важно то могу посмотреть.
http://passat-b6.com/passat-b6/268.htm Здесь все узнаешь. Залей 2,1 л с небольшим запасом.shekhter.gennadiy писал(а):Сержант писал(а):Пробка эта - как рудимент. В коробас надо заливать около 2,1 л. масла. Заливается через отверстие датчика заднего хода. Либо через твою пробку с боку, тогда наклоняй коробку (если снял) или машину на один бок.shekhter.gennadiy писал(а):Ребята подскажите. Я сегодня, когда менял масло в МКПП был очень удивлен. У меня туда вошло около литра масла, а все остальное стало выливаться. Пробовал еще доливать, но все равно вытекает через заливную пробку. А по регламенту, в elcats.ru, в мою МККП идет 2,1 литра. Я немножко растерян... Может я не туда заливаю или есть еще одна заливая пробка? И вообще это нормально, что в 6 ступку входит всего литр масла??
У меня 6 ступ. на B6. Код КПП сейчас не помню, но если это важно то могу посмотреть.
Спасибо. А не знаешь сколько масла идет в 6 ступку KVT????
shekhter.gennadiy писал(а):Ребята подскажите. Я сегодня, когда менял масло в МКПП был очень удивлен. У меня туда вошло около литра масла, а все остальное стало выливаться. Пробовал еще доливать, но все равно вытекает через заливную пробку. А по регламенту, в elcats.ru, в мою МККП идет 2,1 литра. Я немножко растерян... Может я не туда заливаю или есть еще одна заливая пробка? И вообще это нормально, что в 6 ступку входит всего литр масла??
У меня 6 ступ. на B6. Код КПП сейчас не помню, но если это важно то могу посмотреть.
Сейчас этот форум просматривают: FAST WebCrawler [Crawler], Google [Bot] и гости: 9