Volkswagen Passat B6 club

Клуб владельцев Фольксваген Пассат Б6         Клубные рамки

не работает обогрев заднего стекла.

не работает обогрев заднего стекла.

Сообщение Горы844 » 08 сен 2017, 18:34

Здравствуйте.
подскажите где находится предохранитель и рэле?
обогрев работает в совокупе с чем-нибудь или нет?
авто 2008г.1.8 BZB АКПП седан.
VW Passat B6 1,8TSI/ВZB+МКПП Highline+2 2008г.
VW Passat B6 1.8TSI 7DSG Higline+2 2010 г.
Аватара пользователя
Горы844
Местный
 
Автор темы
Сообщения: 266
Зарегистрирован: 21 ноя 2012, 15:55
Откуда: МО,г.Краснознаменск

Re: не работает обогрев заднего стекла.

Сообщение 1gdm » 08 сен 2017, 19:27

С зеркалами. Смотри в теме "схема предохранителей"
Passat B7 limousine , C L L A 2.0/EA189/,210 hp/420Nm,bi-xenon, DSG-6/dq250/
Аватара пользователя
1gdm
Папа Юра
 
Сообщения: 6026
Зарегистрирован: 10 мар 2014, 22:00
Откуда: г.Москва

Re: не работает обогрев заднего стекла.

Сообщение Горы844 » 08 сен 2017, 21:00

1gdm писал(а):С зеркалами. Смотри в теме "схема предохранителей"

ок.спасибо.
VW Passat B6 1,8TSI/ВZB+МКПП Highline+2 2008г.
VW Passat B6 1.8TSI 7DSG Higline+2 2010 г.
Аватара пользователя
Горы844
Местный
 
Автор темы
Сообщения: 266
Зарегистрирован: 21 ноя 2012, 15:55
Откуда: МО,г.Краснознаменск

Re: не работает обогрев заднего стекла.

Сообщение Горы844 » 08 сен 2017, 21:00

проверил предохранители,все целые.
VW Passat B6 1,8TSI/ВZB+МКПП Highline+2 2008г.
VW Passat B6 1.8TSI 7DSG Higline+2 2010 г.
Аватара пользователя
Горы844
Местный
 
Автор темы
Сообщения: 266
Зарегистрирован: 21 ноя 2012, 15:55
Откуда: МО,г.Краснознаменск

Re: не работает обогрев заднего стекла.

Сообщение maloletov » 09 сен 2017, 22:07

Зеркала вроде греются отдельно же. Реле посмотри за маленьким барадчком слева -прямо по центру вроде оно. Когда обогрев включаете - слышен щелчок?
2.0 TDI 110 CBDC 5LHP, Тренд, 2009 г. OoWoO
maloletov
Местный
 
Сообщения: 196
Зарегистрирован: 20 фев 2013, 21:58
Откуда: Смоленск

Re: не работает обогрев заднего стекла.

Сообщение Горы844 » 11 сен 2017, 15:06

maloletov писал(а):Зеркала вроде греются отдельно же. Реле посмотри за маленьким барадчком слева -прямо по центру вроде оно. Когда обогрев включаете - слышен щелчок?

когда включаю,щелчок слышен.
VW Passat B6 1,8TSI/ВZB+МКПП Highline+2 2008г.
VW Passat B6 1.8TSI 7DSG Higline+2 2010 г.
Аватара пользователя
Горы844
Местный
 
Автор темы
Сообщения: 266
Зарегистрирован: 21 ноя 2012, 15:55
Откуда: МО,г.Краснознаменск

Re: не работает обогрев заднего стекла.

Сообщение pashustic » 11 сен 2017, 16:58

Горы844 писал(а):когда включаю,щелчок слышен.


если щелчок слышен то реле отпрабатывает.. Смотри пред SC32 ( 30ампер) и далее sa6
Passat B6 1.9 TDI noDPF noEGR BLS 5МКПП
Установка доп оборудования
Корректировка одометров, прописывание, привязывание ключей запуска., удаление сажев. фильтра, отключение ЕГР в Санкт- Петербурге

VW Parts для вас
Аватара пользователя
pashustic
Модератор
 
Сообщения: 17374
Зарегистрирован: 13 июл 2011, 22:17
Откуда: Санкт-Петербург-Бобруйск

Re: не работает обогрев заднего стекла.

Сообщение Maxim123 » 19 ноя 2017, 19:51

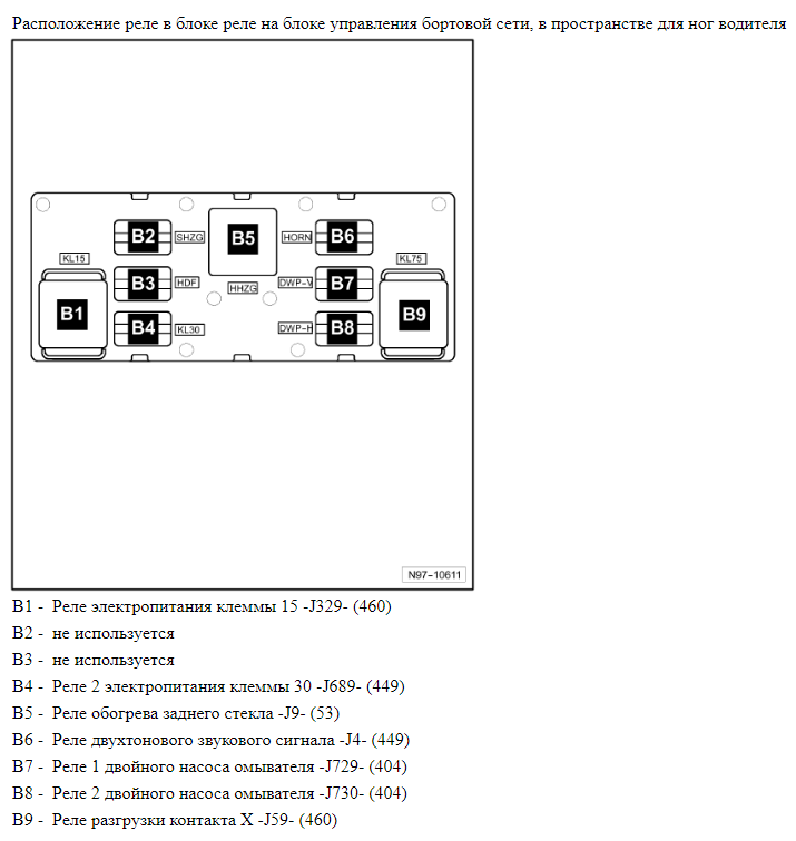
Приветствую, подскажите где находится реле? Как до него добраться?
Maxim123
Новичок
 
Сообщения: 11
Зарегистрирован: 21 дек 2011, 11:35
Откуда: Москва

Re: не работает обогрев заднего стекла.

Сообщение Alemania » 19 ноя 2017, 19:58

Maxim123 писал(а):Приветствую, подскажите где находится реле? Как до него добраться?

Снять водительский бардачок в районе левой коленки
Реле за водительским бардачком.PNG
(тел. +7(982)1O2-4O-7O ) Passat B6 DSG7 1.8TSi ComfortLine 2010г
Alemania
Почетный мембер
 
Сообщения: 4390
Зарегистрирован: 12 авг 2012, 10:31
Откуда: Магнитогорск

Re: не работает обогрев заднего стекла.

Сообщение Maxim123 » 19 ноя 2017, 21:25

Спасибо, завтра посмотрю.
Maxim123
Новичок
 
Сообщения: 11
Зарегистрирован: 21 дек 2011, 11:35
Откуда: Москва


Вернуться в Электрика

Кто сейчас на конференции

Сейчас этот форум просматривают: нет зарегистрированных пользователей и гости: 18

Яндекс цитирования
© 2009-2022 Volkswagen Passat B6 club - Клуб любителей Фольксваген Пассат Б6.
Размещение рекламы/письмо админу: info [собака] b6club [точка] ru